Qingdao Ruichen Sealing Technology Co., Ltd.
Qingdao Ruichen Sealing Technology Co., Ltd.
Products
X
IMG
VIDEO

TC Oil Seals

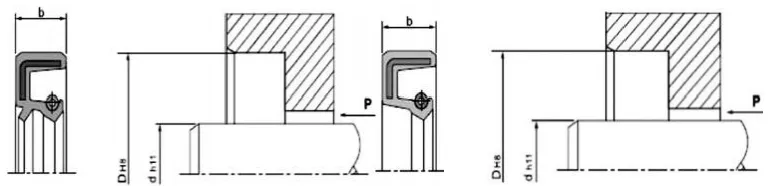
Rotary shaft lip seals, commonly known as oil seals, are installed in the bearing housing and move relative to the rotating shaft. A metal skeleton provides support, and a spring applies radial preload to the sealing lip to prevent lubricant leakage and the intrusion of external contaminants.

Installation Structure and Requirements

1. Shaft Material: Commonly used are carbon steel and stainless steel. For high speeds, chrome plating is applied to the surface, HRC40-45.

2. Design of Rotating Shaft and Grooves: The shaft surface should be smooth and burr-free. Spiral machining marks can create a pumping effect, leading to leakage. It is recommended that the oil seal mounting area be ground to a surface roughness of Ra0.1-0.5µm, becoming smoother with increasing speed. For ease of installation and disassembly, the shaft and grooves must be designed with chamfers or rounded edges See Figures 1 and 2.

Sealing height

b

b1(0.85xb)

mm

b2(b+0.3)

mm

r

max.

7

5.95

7.3

0.5

8

6.80

8.3

0.5

10

8.50

10.3

0.5

12

10.30

12.3

0.7

15

12.75

15.3

0.7

20

17.00

20.3

0.7

Figure 1. Groove chamfer design


d

d3

R

<10

d-1.5

2

10~20

d-2.0

2

20~30

d-2.5

3

30~40

d-3.0

3

40~50

d-3.5

4

50~70

d-4.0

4

70~95

d-4.5

5

95~130

d-5.5

6

130~240

d-7.0

8

240~500

d-11.0

12

500~800

d-14.0

14

800~1250

d-18.0

16

Figure 2 Chamfer design of the rotating shaft


Factors affecting the performance of rotary shaft lip seals 

There are dozens of factors that affect the sealing effect. Besides the oil seal itself, such as its material and structure, other factors like the medium, temperature, pressure, lubrication, speed, and surface roughness also directly affect the sealing effect, and these factors often interact with each other. The following charts are for user reference only.

Figure 3. Effect of temperature on oil seal


Installation: Careful installation is a prerequisite for the proper functioning of oil seals.

Installation diagram (cavity installation)

Correct installation method

Applicable working conditions

Incorrect installation method

This method is only applicable when the oil seal end face and the cavity end face are flush. When the pressing equipment operates rapidly, the oil seal must be positioned correctly; otherwise, misalignment may occur.

 

This design is suitable for situations where the oil seal end face is lower than the cavity end face. Even with rapid pressing, the oil seal can still be well positioned. However, this type of fixture lacks radial positioning, therefore the axial perpendicularity of the pressing device's flat plate and pressure shaft must achieve a certain precision.

This method is suitable for situations where the oil seal end face is lower than the cavity end face. When pressing in the equipment quickly, it is crucial to ensure the oil seal is positioned correctly; otherwise, misalignment may occur.


 

 


This method is only suitable for maintenance or simple installation conditions where pressure equipment is unavailable. Because absolutely uniform pressing cannot be achieved during installation, various installation problems are inevitable. It is primarily designed to prevent radial misalignment during installation, which could deform the oil seal, or to prevent damage to the rubber of the oil seal mating part (outer circle) due to pauses during installation. Therefore, this installation method is generally not recommended.

 

TC/SC/TB/SB oil seals

Both consist of a metal frame, a spring, and a rubber body. The metal frame provides support, and the spring applies radial force to the sealing lip. Both TC and TB models have a dustproof auxiliary lip, suitable for applications where one side contains the sealing medium and the other side contains dust. TB/SB models have a metal outer circle, making the oil seal more secure and precise within the cavity. However, the sealing ability of the outer circle is limited for low-viscosity and gaseous media; therefore, it is recommended to apply sealant to the outer circle during installation and use.

Cross-sectional shape

Model

Application

Pressure

Temperature

Speed

Medium

Material

TC

Sealing, dustproof

0.03MPa

-30~+160

20m/s

Lubricating oil and grease

NBR/FKM + Carbon Steel

SC

Sealing

TB

Sealing, dustproof

-30~+100

25m/s

Water, lubricating oil, grease

NBR + Carbon Steel

SB

Sealing

Order model TC-d*D*b

Specification

Specification

Specification

Specification

Specification

Specification

Specification

TC-6*17*3.5

TC-9*25*7

TC-10*30*7

TC-12*25*10

TC-13*25*7

TC-14*32*8

TC-15*30*7

TC-7*18*7

TC-10*18*7

TC-11*22*7

TC-12*26*7

TC-13*26*7

TC-14*32*10

TC-15*30*8

TC-8*18*7

TC-10*19*7

TC-I1*25*7

TC-12*28*7

TC-13*28*7

TC-14*35*7

TC-15*30*10

TC-8*20*7

TC-10*20*5

TC-11*30*10

TC-12*28*8

TC-13*30*8

TC-14*35*8

TC-15*32*7

TC-8*22*7

TC-10*20*7

TC-12*19*3

TC-12*30*7

TC-14*24*7

TC-14*40*7

TC-15*32*10

TC-8*22*8

TC-10*22*5

TC-12*20*7

TC-12*30*10

TC-14*25*7

TC-15*22*8

TC-15*35*7

TC-8*25*7

TC-10*22*7

TC-12*21*7

TC-12*32*7

TC-14*26*7

TC-15*24*7

TC-15*35*8

TC-8*25*8

TC-10*22*8

TC-12*22*5

TC-12*32*10

TC-14*27*7

TC-15*25*5

TC-15*35*10

TC-8*30*7

TC-10*22*10

TC-12*22.5*5.5

TC-12*35*7

TC-14*28*7

TC-15*25*7

TC-15*38*7

TC-9*16*5

TC-10*24*7

TC-12*22*7

TC-12*35*10

TC-14*28*8

TC-15*25*8

TC-15*38*8

TC-9*18*7

TC-10*25*5

TC-12*22*8

TC-12.7*22.22*5

TC-14*28*10

TC-15*26*7

TC-15*38*10

TC-9*19*7

TC-10*25*7

TC-12*24*6

TC-12.7*25.4*7

TC-14*29*7

TC-15*27*7

TC-15*40*8

TC-9*20*7

TC-10*25*10

TC-12*24*7

TC-12.7*26*8

TC-14*30*7

TC-15*27*8

TC-15*40*10

TC-9*22*7

TC-10*26*7

TC-12*25*7

TC-12.7*30*8

TC-14*30*10

TC-15*28*7

TC-15*42*7

TC-9*24*7

TC-10*28*7

TC-12*25*8

TC-13*23*7

TC-14*32*7

TC-15*28*10

TC-15*42*8

 




Hot Tags: TC Oil Seals
Send Inquiry
Contact Info
Get competitive prices, technical support, and fast responses. Send your specifications to Ruichen for tailored sealing solutions. Free samples available.
X
We use cookies to offer you a better browsing experience, analyze site traffic and personalize content. By using this site, you agree to our use of cookies. Privacy Policy
Reject Accept