Hydraulic Seals for Piston Holes, in our factory and R&D center, there are subdivided models and types, each with its own characteristics, but we have achieved strict quality control.
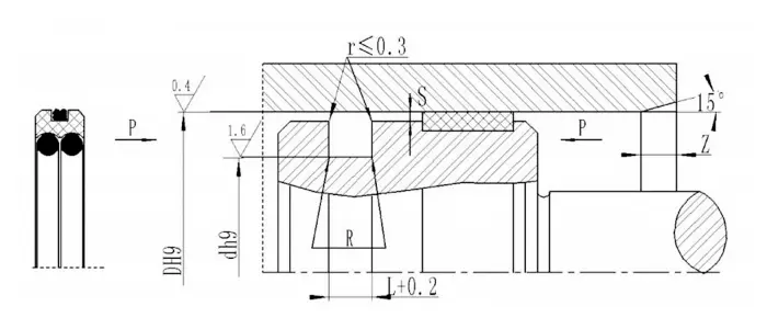
RC61 and RC62 are composed of a filled PTFE rectangular sealing ring and an O-shaped rubber ring, suitable for hydraulic reciprocating motion bidirectional pressure sealing. RC61-B is composed of a filled PTFE stepped sealing ring and an O-shaped rubber ring, suitable for hydraulic reciprocating motion unidirectional pressure sealing. RC62-B is a heavy-duty reverse step seal, suitable for sealing unidirectional pressure sealing. The O-ring provides radial force and compensates for the wear of the sealing ring. It is generally used in conjunction with a guide ring for heavy hydraulic equipment. Split (open) grooves should be used for cylinders with a diameter less than 30mm. Features:
1. Low friction, small starting resistance, smooth movement, equal dynamic and static friction, no creeping;
2. Very high pressure stability under pressure and harsh conditions;
3. Long life, can be used for oil-free lubrication seals;
4. Can be used for sealing low-viscosity media such as water;
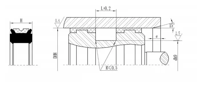
OK is composed of a thermoplastic open sealing ring made of special material and a rectangular rubber ring, which is suitable for hydraulic reciprocating motion bidirectional pressure sealing. The rubber ring provides radial force and compensates for the wear of the sealing ring. Since the sealing ring adopts an open structure, the problem that the Glyd ring needs special tools to be installed is solved. Features:
1. Low friction, small starting resistance, smooth movement, no creeping;
2. Very high pressure stability under pressure and harsh conditions;
3. Simple and convenient installation, no assembly tools required;
4. Can be used for sealing low-viscosity media such as water;
5. Good anti-extrusion performance, allowing a larger extrusion gap.
RC63 is composed of a PTFE cap-shaped sealing ring and an O-shaped rubber ring, which is suitable for hydraulic and pneumatic reciprocating motion bidirectional pressure sealing. The O-shaped ring provides radial force and compensates for the wear of the sealing ring. Since the sealing ring adopts a thin lip design, the follow-up compensation ability is good, so the sealing performance is good and it can be installed in the GB12350 ring groove. Split (open) grooves should be used for cylinder diameters less than 30mm. Features:
1. It can be used for both hydraulic and pneumatic, and can be used for bidirectional pressure sealing;
2. Low friction, small starting resistance, smooth movement, equal dynamic and static friction, no creeping;
3. Long life, can be used for oil-free lubrication seals;
Small structural space, easy installation and maintenance;
KDAS, TPM (special shape) is a five-combination compression piston seal assembly consisting of a rubber sealing element, two retaining rings and two guide rings. Suitable for bidirectional pressure piston sealing. Features:
1. Good sealing, high reliability, compact structure;
2. Will not be squeezed into the radial gap;
3. Simple installation, integral piston installation;
The special geometric shape of the NBR sealing element prevents it from twisting in the groove during installation.
GDKK consists of two guide rings, two retaining rings, an elastic rubber ring and a sealing ring. The guide ring plays a positioning and guiding role. The retaining ring plays a supporting and positioning role, the elastic rubber ring provides elastic force and compensates for the loss of the sealing ring. The sealing ring cooperates with the inner hole of the oil cylinder to produce a sealing effect, which is suitable for the bidirectional pressure sealing of the oil cylinder piston. It has a good sealing effect even under harsh working conditions. Features:
1. Low friction, small starting resistance, smooth movement, equal dynamic and static friction, no creeping;
2. Very high pressure stability under pressure and harsh conditions;
3. High life, can be used for sealing in poor lubrication conditions;
4. Can be used for sealing low-viscosity media such as water;
Excellent high and low pressure sealing performance.
RC64 is composed of a PTFE triangular sealing ring and an O-ring rubber ring, suitable for hydraulic and pneumatic reciprocating motion one-way pressure sealing. The O-ring provides radial force and compensates for the wear of the sealing ring. Since the sealing ring adopts a thin lip design, the follow-up compensation ability is better, so the sealing performance is good. The split (open) groove should be used for cylinder diameters less than 30mm. Features:
1. It can be used for both hydraulic and pneumatic;
2. Low friction, small starting resistance, smooth movement, equal dynamic and static friction, no creeping;
3. Long life, can be used for oil-free lubrication seals;
Small structural space, easy installation and maintenance;
SPG is a combination of a rectangular modified PTFE sealing ring and a rectangular rubber ring as a preload element. It has the characteristics of good sealing, low friction and small structural space.
RC66 is a combination of a rectangular modified PTFE sealing ring and an O-ring as a preload element. It has the characteristics of good sealing, low friction, and small structural space. It is suitable for high-speed oil cylinders or cylinders. RC67 is composed of a filled PTFE rectangular sealing ring, two retaining rings, and a heterogeneous elastomer, which is suitable for hydraulic reciprocating motion bidirectional pressure sealing. The elastomer provides radial force and compensates for the wear of the sealing ring. The retaining ring protects the sealing ring and has a good sealing effect even under harsh working conditions. Features:
1. Low friction, small starting resistance, smooth movement, equal dynamic and static friction, no creeping;
2. Very high pressure stability under pressure and harsh conditions;
3. High life, can be used for oil-free lubrication seals;
4. Can be used for sealing low-viscosity media such as water;
5. Excellent high and low pressure sealing performance.
RCEK is composed of a set of V-shaped sealing rings, a pressure ring and a support ring, and is suitable for hydraulic reciprocating motion one-way pressure sealing. Grease compatible with the sealing material must be applied during installation. It cannot be installed in an integral (closed) groove. It is used for piston seals in medium and heavy loads. Features:
1. A variety of materials are available, which can be optimally adjusted to suit various purposes;
2. It can be used in harsh working conditions and is suitable for almost all media and harsh conditions;
3. It has a long service life and can be used for oil-free lubrication seals (reasonable material selection);
4. The sealing performance can be adjusted, and the axial size can be adjusted by adding or removing V-shaped sealing rings;
It can work effectively even if the sealing surface quality is poor.
RCKR is composed of a PU sealing ring and a rectangular rubber ring, suitable for hydraulic reciprocating motion bidirectional sealing. It is a complementary product of Glyd ring products, with better sealing and pressure-maintaining ability than Glyd ring, and can be installed without the help of installation tools. Its features:
1. Good dynamic and static sealing performance;
2. Better low-pressure sealing performance than Glyd ring, and can be installed without installation tools;
3. Low friction, small starting resistance, and smooth movement;
4. Long life, can be used for oil-free lubrication seal;
5. Can be used for bidirectional pressure sealing;
The installation groove conforms to ISO7425/1 standard.
RPW is composed of a special-shaped PU sealing ring and an O-shaped rubber ring, suitable for hydraulic reciprocating motion bidirectional pressure sealing. The O-ring provides radial force and compensates for the wear of the sealing ring. It is generally used in conjunction with a guide ring. Features:
1. Low friction, small starting resistance, smooth movement, no creeping;
2. Very high pressure stability under pressure and harsh conditions;
3. Good sealing performance at both high and low pressures;
No installation tools are required for installation.
TDA and TDMA are composed of a special-shaped rubber (or polyurethane) elastomer and a modified PTFE sealing ring, and have the characteristics of good sealing, long life, low friction, no creeping, etc. TDA is suitable for one-way pressure sealing of pistons. TDMA is suitable for two-way pressure sealing of pistons.
GGDA consists of a PTFE-filled sealing ring, two L-shaped plastic support rings and an elastic force O-ring, with good sealing, long life, low friction, no creeping and other characteristics. Suitable for piston bidirectional pressure sealing.
RCUP sealing ring is an asymmetric seal specially used on the piston, suitable for hydraulic reciprocating motion one-way sealing, with good sealing performance. The groove conforms to ISO5597 standard. YXD type sealing ring for shaft is an asymmetric seal specially used on the piston, suitable for hydraulic reciprocating motion one-way sealing, with good sealing performance. When used under 12~32Mpa, a retaining ring is required at the heel. The groove conforms to JB/ZQ4265-97 standard. Features:
1. Applicable to light loads and medium loads;
2. Good sealing performance for both high-pressure and low-pressure sealing;
3. A variety of materials are available, with a wider range of media resistance;
4. Simple structure and easy installation and maintenance.
Product features and applications:
Material selection:
RC61, RC62
1. The materials of the O-rings can be: R01 nitrile rubber (NBR), R02 fluororubber (FKM), etc.
2. Sealing ring materials: standard material PTFE3, other optional materials PTFE2, PTFE4, PU, etc.
OK
1. Material of matching rectangular ring: R01 nitrile rubber
2. Material of sealing ring: composite thermoplastic material.
RC63, RC64, SPG, RC66, AQ, AQF
1. The materials of the O-rings can be: R01 nitrile rubber (NBR), R02 fluororubber (FKM), etc.
2. Sealing ring materials: standard material PTFE3, other optional materials PTFE1, PTFE2, PTFE4.
KDAS, TPM
1. Matching rubber ring material: R01 nitrile rubber
2. Retaining ring material: nylon PA/polyoxymethylene POM
3. Guide ring: nylon PA/polyoxymethylene POM/polytetrafluoroethylene PTFE
GDKK, RC67
1. Available elastomer materials: R01 nitrile rubber (NBR), R02 fluororubber (FKM), etc.
2. Sealing ring material: standard material PTFE3, other optional materials PTFE2, PTFE4.
3. Retaining ring material: POM/PA/PTFE, PTFE material is used when the temperature exceeds 100 degrees.
RCEK
1. Press ring material: polytetrafluoroethylene, nitrile cloth, fluororubber cloth, nylon, polyoxymethylene
2. V-ring material: polytetrafluoroethylene, nitrile rubber, nitrile cloth, fluororubber, fluororubber cloth
3. Support ring material: nitrile cloth, fluororubber cloth, nylon, polyoxymethylene, polytetrafluoroethylene
RCKR, RPW
1. Matching rectangular ring material: RO1 nitrile rubber (NBR)
2. Sealing ring material: PU
YXD
Optional nitrile rubber (R01), fluororubber (R02), polyurethane (PU), etc.
Ordering example:
Ordering model RC61-40x29x4.2-PTFE3-R01Ordering model RC61-B-40x29x4.2-PTFE3-R02
RC61-Glyd ring RC61-B-Hole seal Dxdx L-Material code
RC62-80x60x10-PTFE3-R01 RC62-Model DxdxL PTFE3, R01 Material Code
Order model OK-80x59x8 cylinder diameter x groove diameter x groove width
Ordering model RC63-80-PTFE3-R01 or SPGC-80-PTFE3-R01
RC63/SPGC-model 80-cylinder diameter D PTFE3-PTFE material code R01-O-ring material code
Order model KDAS-80x60x22.4 Cylinder diameter x groove diameter x groove width (L)
Order model TPM-80x60x22.4 Cylinder diameter x groove diameter x groove width (L)
Ordering example: GDKK-80*62*43*22.5-R01
Order model RC64-80-PTFE3-R01
RC64-Model 80-Cylinder diameter D PTFE3-PTFE material code R01-O-ring material code
Ordering example: SPG-D*d*L-PTFE3-R01 (outer diameter*inner diameter*groove width) PTFE3, R01-material code
RC66
Order model RC67-100x85x12.5-PTFE3-R01 or SPGW-100x85x12.5-PTFE3 -R01
Model-cylinder diameter x groove bottom diameter x groove width PTFE3-modified PTFE material code R01 elastomer material code
RCEK
| model | Materials | Applicable range | Sealing |
| RCEK-A | V-ring: NBR cloth, pressure ring, support ring: NBR cloth/PA/POM/PTFE | Normal temperature, high pressure | Good |
| RCEK-B | V-ring: FKM cloth, pressure ring, support ring: FKM cloth/PTFE | High temperature, high pressure | Good |
| RCEK-C | V-ring: NBR, pressure ring, support ring: NBR cloth/PA/POM/PTFE | Normal temperature, medium and low pressure | Excellent |
| RCEK-D | V-ring: FKM, pressure ring, support ring: FKM cloth/PTFE | High temperature, medium and low pressure | Excellent |
| RCEK-E | V-ring: NBR and NBR cloth combination, pressure ring, support ring: NBR cloth/PA/POM/PTFE | Normal temperature, medium and high pressure | Excellent |
| RCEK-F | V-ring: FKM and FKM cloth combination, pressure ring, support ring: FKM cloth/PTFE | High temperature, medium and high pressure | Fair |
| RCEK-G | V-ring, pressure ring, support ring: PTFE1/PTFE2/PTFE3/PTFE4 | High temperature and high pressure corrosive media | Excellent |
| RCEK-H | V-ring: PU, pressure ring, support ring: PU/PA/POM/PTFE | Normal temperature, medium and high pressure | Sealing |
| Order model RCEK-A-120×95x25.3 Model-cylinder diameter x groove bottom diameter x groove width | |||
AQ
AQF
RCKR
RPW
TDA
Chamfer length
| Cylinder diameter range | Chamfer length e≥ |
| 40-89 | 6 |
| 90-144 | 7 |
| 145-320 | 10 |
| 321-670 | 15 |
TDMA
GGDA
RCUP
Ordering example: Order model RCUP D63×48×10 cylinder diameter×groove diameter×seal height
YXD
Order model YXD63×51×14-R01 cylinder diameter×groove diameter×seal height-material code
Specifications:
RC61|
Aperture range D H9 |
Groove diameter d h9 |
Groove width L+0.2 |
Radial clearance Smax |
Rounded Corners Rmax |
Chamfer Zmin |
O-ring wire diameter | |||
| Standard type | Light load | Heavy load | 0~20Mpa | 20~40Mpa | |||||
| 8~14.9 | 15~39.9 | - | D-4.9 | 2.2 | 0.20 | 0.15 | 0.4 | 2 | 1.80 |
| 15~39.9 | 40~79.9 | - | D-7.5 | 3.2 | 0.25 | 0.15 | 0.6 | 3 | 2.65 |
| 40~79.9 | 80~132.9 | 15~39.9 | D-11.0 | 4.2 | 0.25 | 0.20 | 1.0 | 4 | 3.55 |
| 80~132.9 | 133~329.9 | 40~79.9 | D-15.5 | 6.3 | 0.30 | 0.20 | 1.3 | 5 | 5.30 |
| 133~329.9 | 330-669.9 | 80~132.9 | D-21.0 | 8.1 | 0.35 | 0.25 | 1.8 | 7 | 7.00 |
| 330~669.9 | 670~999.9 | 133~329.9 | D-24.5 | 8.1 | 0.35 | 0.25 | 1.8 | 7 | 7.00 |
| 670~999.9 | - | 330~669.9 | D-28.0 | 9.5 | 0.5 | 0.30 | 2.5 | 8 | 8.60 |
| >1000 | D-38 | 13.8 | 0.7 | 0.60 | 3 | 10 | 12.0 | ||
| Note: 1. For hole diameter ≤30mm, it is recommended to use open groove. | |||||||||
| 2. For pressure >40MPA, the root area of the seal uses S max H8/f8 fit tolerance | |||||||||
|
Aperture range D H9 |
Groove diameter d h9 |
Groove width L+0.2 |
Radial clearance Smax |
Rounded Corners Rmax |
Chamfer Zmin |
|
| 0-20Mpa | 20~40Mpa | |||||
| 20~49.9 | D-10 | 5 | 0.40 | 0.30 | 0.3 | 4 |
| 50~59.9 | D-15 | 7.5 | 0.40 | 0.30 | 0.4 | 5 |
| 60~149.9 | D-20 | 10 | 0.50 | 0.40 | 0.4 | 6 |
| 150~244.9 | D-25 | 12.5 | 0.60 | 0.50 | 0.4 | 8.5 |
| 245~519.9 | D-30 | 15 | 0.70 | 0.60 | 0.8 | 10 |
| 520~769.9 | D-35 | 17.5 | 0.80 | 0.70 | 1.2 | 13 |
| 770~1500 | D-40 | 20 | 0.80 | 0.70 | 1.2 | 15 |
| Note: 1. For hole diameter ≤ 30mm, it is recommended to use open groove. | ||||||
| 2. For pressure > 40MPA, the root area of the seal uses S max H8/f8 fit tolerance. | ||||||
| model | DH9 | dh9 | L+0.2 | D1 | model | DH9 | dh9 | L+0.2 | D1 | model | DH9 | dh9 | L+0.2 | D1 |
| OK-25*16*4.2 | 25 | 16 | 4.2 | 24.3 | OK-90*74.5*6.3 | 90 | 74.5 | 6.3 | 89.0 | OK-160*139*8.0 | 160 | 139 | 8.0 | 158.8 |
| OK-32*21*4.2 | 32 | 21 | 4.2 | 31.3 | OK-95*74*8.0 | 95 | 74 | 8.0 | 94.0 | OK-170*149*8.0 | 170 | 149 | 8.0 | 168.8 |
| OK-40*26.3*5.8 | 40 | 26.3 | 5.8 | 39.2 | OK-100*79*8.0 | 100 | 79 | 8.0 | 99.0 | OK-180*159*8.0 | 180 | 159 | 8.0 | 178.8 |
| OK-40*29*4.2 | 40 | 29 | 4.2 | 39.3 | OK-100*84.5*6.3 | 100 | 84.5 | 6.3 | 99.0 | OK-190*169*8.0 | 190 | 169 | 8.0 | 188.8 |
| OK-50*34.5*6.3 | 50 | 34.5 | 6.3 | 49.0 | OK-105*84*8.0 | 105 | 84 | 8.0 | 103.8 | OK-200*179*8.0 | 200 | 179 | 8.0 | 198.8 |
| OK-50*39*4.2 | 50 | 39 | 4.2 | 49.3 | OK-110*89*8.0 | 110 | 89 | 8.0 | 108.8 | OK-210*189*8.0 | 210 | 189 | 8.0 | 208.4 |
| OK-60*41.7*7 | 60 | 41.7 | 7.0 | 59.2 | OK-110*94.5*6.3 | 110 | 94.5 | 6.3 | 109.0 | OK-220*199*8.0 | 220 | 199 | 8.0 | 218.4 |
| OK-60*49*4.2 | 60 | 49 | 4.2 | 59.3 | OK-115*94*8.0 | 115 | 94 | 8.0 | 113.8 | OK-230*209*8.0 | 230 | 209 | 8.0 | 228.4 |
| OK-63*44.7*7.0 | 63 | 44.7 | 7.0 | 62.2 | OK-120*99*8.0 | 120 | 99 | 8.0 | 118.3 | OK-240*219*8.0 | 240 | 219 | 8.0 | 238.4 |
| OK-63*47.5*6.3 | 63 | 47.5 | 6.3 | 62.0 | OK-125*104*8.0 | 125 | 104 | 8.0 | 123.8 | OK-250*229*8.0 | 250 | 229 | 8.0 | 248.4 |
| OK-70*51.7*7.0 | 70 | 51.7 | 7.0 | 69.2 | OK-125*109.5*6.3 | 125 | 109.5 | 6.3 | 124.0 | OK-280*225.5*8.0 | 280 | 255.5 | 8.0 | 278.4 |
| OK-70*59*4.2 | 70 | 59 | 4.2 | 69.3 | OK-130*109*8.0 | 130 | 109 | 8.0 | 128.8 | OK-300*272*9.5 | 300 | 272 | 9.5 | 297.8 |
| OK-75*54*8.0 | 75 | 54 | 8.0 | 74.2 | OK-130*114.5*6.3 | 130 | 114.5 | 6.3 | 129.0 | OK-320*292*9.5 | 320 | 292 | 9.5 | 317.8 |
| OK-75*59.5*6.3 | 75 | 59.5 | 6.3 | 74.0 | OK-135*114*8.0 | 135 | 114 | 8.0 | 133.5 | OK-330*302*9.5 | 330 | 302 | 9.5 | 327.8 |
| OK-80*59*8.0 | 80 | 59 | 8.0 | 79.0 | OK-135*119.5*6.3 | 135 | 119.5 | 6.3 | 134.0 | OK-350*322*9.5 | 350 | 322 | 9.5 | 347.8 |
| OK-80*64.5*6.3 | 80 | 64.5 | 6.3 | 79.0 | OK-140*119*8.0 | 140 | 119 | 8.0 | 138.8 | OK-370*342*9.5 | 370 | 342 | 9.5 | 367.8 |
| OK-85*64*8.0 | 85 | 64 | 8.0 | 84.0 | OK-145*124*8.0 | 145 | 124 | 8.0 | 143.8 | OK-420*392*9.5 | 420 | 392 | 9.5 | 417.8 |
| OK-90*69*8.0 | 90 | 69 | 8.0 | 89.0 | OK-150*129*8.0 | 150 | 129 | 8.0 | 148.8 |
|
|
|
|
|
|
Aperture range D H9 |
Groove diameter d h9 |
Groove width L+0.2 |
Radial clearance Smax |
Round Corners Rmax |
Chamfer Zmin |
O-ring wire diameter dO |
|
| Hydraulic | Pneumatic and hydraulic low friction | ||||||
| 6~13 | D-3 | D-3.5 | 2.5 | 0.2 | 0.4 | 3 | 1.9 |
| 14~26 | D-4 | D-4.6 | 3.2 | 0.3 | 0.6 | 4 | 2.4 |
| 27~56 | D-6 | D-6.6 | 4.7 | 0.3 | 1 | 5 | 3.5 |
| 57~169 | D-10 | D-10.6 | 7.5 | 0.35 | 1 | 6 | 5.7 |
| 170~1500 | D-15 | D-15.6 | 11.0 | 0.4 | 2.5 | 8 | 8.6 |
| model | size | model | size | ||||||||||
| D | d | d1 | d2 | L | L1 | D | d | d1 | d2 | L | L1 | ||
| KDAS-20 | 20 | 11 | 17 | 19 | 13.5 | 2.1 | KDAS-25/2 | 25 | 16 | 22 | 24 | 13.5 | 2.1 |
| KDAS-22 | 22 | 13 | 19 | 21 | 13.5 | 2.1 | KDAS-28 | 28 | 19 | 25 | 27 | 13.5 | 2.1 |
| KDAS-25/1 | 25 | 15 | 22 | 24 | 12.5 | 4 | KDAS-30 | 30 | 21 | 27 | 29 | 13.5 | 2.1 |
| Product Number | D | d | b | d2 | d3 | a | c | f | e |
| GDKK-40 | 40 | 26 | 32 | 32 | 36 | 3 | 15.5 | 8.25 | 7 |
| GDKK-45 | 45 | 31 | 37 | 41 | |||||
| GDKK-50 | 50 | 34 | 39 | 42 | 46 | 20.5 | 9.25 | ||
| GDKK-56 | 56 | 40 | 48 | 52 | |||||
| GDKK-63 | 63 | 47 | 55 | 59 | |||||
| GDKK-65 | 65 | 49 | 57 | 61 | |||||
| GDKK-70 | 70 | 54 | 62 | 66 | |||||
| GDKK-75 | 75 | 59 | 67 | 71 | |||||
| GDKK-80 | 80 | 62 | 43 | 72 | 76 | 22.5 | 10.25 | ||
| GDKK-85 | 85 | 67 | 77 | 81 | |||||
| GDKK-90 | 90 | 72 | 82 | 86 | |||||
| GDKK-95 | 95 | 77 | 87 | 91 | |||||
| GDKK-100 | 100 | 82 | 92 | 96 | 10 | ||||
| GDKK-110 | 110 | 92 | 102 | 106 | |||||
| GDKK-115 | 115 | 97 | 107 | 111 | |||||
| GDKK-120 | 120 | 102 | 112 | 116 |
|
Aperture range D H9 |
Groove diameter dh9 |
Groove width L+0.2 |
Rounded Corners Rmax |
Radial clearance Smax |
Chamfer Zmin |
O-ring wire diameter dO |
| 14~22.9 | D-5.2 | 3.8 | 0.6 | 0.25 | 3 | 2.65 |
| 23~49.9 | D-6.6 | 4.8 | 1 | 0.3 | 4 | 3.55 |
| 50~119.9 | D-10.0 | 7.3 | 1.3 | 0.35 | 6 | 5.30 |
| 120~1500 | D-13.0 | 9.5 | 1.8 | 0.4 | 8 | 7.00 |
| Note: For cylinder diameter ≤30mm, open groove is recommended. | ||||||
| D | d | H | L+0.2 |
|
D | d | H | L+0.2 |
|
D | d | H | L+0.2 |
|
D | d | H | L+0.2 |
| 30 | 20.5 | 4.3 | 4.5 | 95 | 80 | 7.3 | 7.5 | 224 | 202 | 10.8 | 11 | 800 | 785 | 12.7 | 13 | |||
| 31.5 | 22 | 4.3 | 4.5 | 100 | 85 | 7.3 | 7.5 | 225 | 203 | 10.8 | 11 | 900 | 870 | 24.5 | 25 | |||
| 32 | 22.5 | 4.3 | 4.5 | 108 | 92 | 7.3 | 7.5 | 230 | 208 | 10.8 | 11 | 930 | 890 | 19 | 20 | |||
| 35 | 25.5 | 4.3 | 4.5 | 110 | 94 | 7.3 | 7.5 | 240 | 218 | 10.8 | 11 | 935 | 920 | 12.7 | 13 | |||
| 35.5 | 26 | 4.3 | 4.5 | 112 | 96 | 7.3 | 7.5 | 250 | 228 | 10.8 | 11 | 950 | 925 | 17.7 | 18 | |||
| 40 | 30 | 4.3 | 4.5 | 120 | 104 | 7.3 | 7.5 | 260 | 236 | 11.7 | 12 | 1000 | 960 | 19.7 | 20 | |||
| 45 | 35 | 4.3 | 4.5 | 125 | 109 | 7.3 | 7.5 | 270 | 246 | 11.7 | 12 | 1060 | 1020 | 19.7 | 20 | |||
| 50 | 40 | 4.3 | 4.5 | 130 | 114 | 7.3 | 7.5 | 280 | 256 | 11.7 | 12 | 1120 | 1080 | 19.7 | 20 | |||
| 55 | 45 | 4.3 | 4.5 | 140 | 124 | 7.3 | 7.5 | 290 | 266 | 11.7 | 12 | 1150 | 1110 | 19.7 | 20 | |||
| 56 | 46 | 4.3 | 4.5 | 145 | 129 | 7.3 | 7.5 | 300 | 276 | 11.7 | 12 | 1180 | 1130 | 19.7 | 20 | |||
| 60 | 50 | 4.3 | 4.5 | 150 | 134 | 7.3 | 7.5 | 310 | 286 | 11.7 | 12 | 1210 | 1170 | 19.7 | 20 | |||
| 63 | 48 | 7.3 | 7.5 | 155 | 139 | 7.3 | 7.5 | 320 | 296 | 11.7 | 12 | 1250 | 1210 | 19 | 20 | |||
| 65 | 50 | 7.3 | 7.5 | 160 | 144 | 7.3 | 7.5 | 330 | 308 | 9.75 | 10 | 1260 | 1220 | 19.7 | 20 | |||
| 69 | 54 | 7.3 | 7.5 | 170 | 148 | 10.8 | 11 | 360 | 336 | 11.7 | 12 | 1400 | 1350 | 19.7 | 20 | |||
| 70 | 55 | 7.3 | 7.5 | 180 | 158 | 10.8 | 11 | 485 | 455 | 14.8 | 15 | 1500 | 1460 | 19.7 | 20 | |||
| 71 | 56 | 7.3 | 7.5 | 190 | 168 | 10.8 | 11 | 500 | 470 | 14.8 | 15 | 1650 | 1600 | 24 | 25 | |||
| 75 | 60 | 7.3 | 7.5 | 200 | 178 | 10.8 | 11 | 550 | 515 | 17.2 | 17.5 |
|
|
|
|
|||
| 80 | 65 | 7.3 | 7.5 | 204 | 182 | 10.8 | 11 | 600 | 570 | 14.8 | 15 |
|
|
|
|
|||
| 85 | 70 | 7.3 | 7.5 | 210 | 188 | 10.8 | 11 | 650 | 620 | 14.8 | 15 |
|
|
|
|
|||
| 90 | 75 | 7.3 | 7.5 | 220 | 198 | 10.8 | 11 | 720 | 690 | 14.8 | 15 |
|
|
|
|
| Ordering example: RC66-D*d*L-PTFE3-R01 (outer diameter*inner diameter*groove width) PTFE3, R01- Material code | ||||||||||||||||||
| D | d | L |
|
D | d | L |
|
D | d | L |
|
D | d | L |
|
D | d | L |
| 15 | 10 | 2 | 32 | 24.8 | 4 | 55 | 45 | 5 | 80 | 66 | 6.5 | 125 | 111.2 | 7.5 | ||||
| 16 | 11 | 2 | 35 | 26.5 | 4 | 55 | 46.5 | 4 | 80 | 66.2 | 7.5 | 125 | 114 | 4 | ||||
| 18 | 13 | 2 | 35 | 27.5 | 3 | 56 | 46 | 5 | 80 | 70 | 4 | 130 | 116 | 6.5 | ||||
| 20 | 12.8 | 4 | 35 | 27.8 | 4 | 56 | 47.5 | 4 | 90 | 76 | 6.5 | 140 | 126 | 6.5 | ||||
| 20 | 14 | 3 | 36 | 28.5 | 3 | 60 | 50 | 4 | 90 | 76.2 | 7.5 | 140 | 126.2 | 7.5 | ||||
| 20 | 15 | 2 | 36 | 28.8 | 4 | 60 | 50 | 5 | 90 | 80 | 4 | 160 | 146 | 6.5 | ||||
| 25 | 17.8 | 4 | 40 | 30 | 5 | 60 | 51.5 | 4 | 100 | 86 | 6.5 | 180 | 160 | 10 | ||||
| 25 | 19 | 3 | 40 | 31.5 | 4 | 63 | 49 | 6.5 | 100 | 86.2 | 7.5 | 180 | 165 | 6 | ||||
| 25 | 20 | 2 | 40 | 32.5 | 3 | 63 | 53 | 4 | 100 | 89 | 4 | 200 | 180 | 10 | ||||
| 28 | 20.5 | 3 | 45 | 35 | 5 | 63 | 53 | 5 | 110 | 96 | 6.5 | 200 | 185 | 6 | ||||
| 28 | 20.8 | 4 | 45 | 36.5 | 4 | 65 | 51 | 6.5 | 110 | 96.2 | 7.5 | 250 | 230 | 10 | ||||
| 30 | 21.5 | 4 | 45 | 37.5 | 3 | 65 | 55 | 4 | 110 | 99 | 4 | 280 | 260 | 10 | ||||
| 30 | 22.5 | 3 | 50 | 40 | 4 | 65 | 55 | 5 | 120 | 106 | 6.5 | 320 | 300 | 10 | ||||
| 30 | 22.8 | 4 | 50 | 40 | 5 | 70 | 56 | 6.5 | 120 | 106.2 | 7.5 |
|
|
|
||||
| 32 | 23.5 | 4 | 50 | 41.5 | 4 | 70 | 60 | 4 | 120 | 109 | 4 |
|
|
|
||||
| 32 | 24.5 | 3 | 55 | 45 | 4 | 70 | 60 | 5 | 125 | 111 | 6.5 |
|
|
|
||||
| Note: The dimensions are not listed in this table, please contact us. | ||||||||||||||||||
| DH9 | d h9 | L+0.2 | Z | R |
|
DH9 | d h9 | L+0.2 | Z | R |
| 50.0 | 36.0 | 9.0 | 5.0 | 0.3 | 115.0 | 100.0 | 12.5 | 5.0 | 0.5 | |
| 55.0 | 41.0 | 9.0 | 5.0 | 0.3 | 120.0 | 105.0 | 12.5 | 5.0 | 0.5 | |
| 60.0 | 46.0 | 9.0 | 5.0 | 0.3 | 125.0 | 102.0 | 16.0 | 6.5 | 0.6 | |
| 63.0 | 48.0 | 11.0 | 5.0 | 0.5 | 130.0 | 107.0 | 16.0 | 6.5 | 0.6 | |
| 65.0 | 50.0 | 11.0 | 5.0 | 0.5 | 135.0 | 112.0 | 16.0 | 6.5 | 0.6 | |
| 70.0 | 55.0 | 11.0 | 5.0 | 0.5 | 140.0 | 117.0 | 16.0 | 6.5 | 0.6 | |
| 75.0 | 60.0 | 11.0 | 5.0 | 0.5 | 145.0 | 122.0 | 16.0 | 6.5 | 0.6 | |
| 80.0 | 65.0 | 11.0 | 5.0 | 0.5 | 150.0 | 127.0 | 16.0 | 6.5 | 0.6 | |
| 85.0 | 70.0 | 11.0 | 5.0 | 0.5 | 155.0 | 132.0 | 16.0 | 6.5 | 0.6 | |
| 90.0 | 75.0 | 11.0 | 5.0 | 0.5 | 160.0 | 137.0 | 16.0 | 6.5 | 0.6 | |
| 95.0 | 80.0 | 12.5 | 5.0 | 0.5 | 165.0 | 142.0 | 16.0 | 6.5 | 0.6 | |
| 100.0 | 85.0 | 12.5 | 5.0 | 0.5 | 170.0 | 147.0 | 16.0 | 6.5 | 0.6 | |
| 105.0 | 90.0 | 12.5 | 5.0 | 0.5 | 180.0 | 157.0 | 16.0 | 6.5 | 0.6 | |
| 110.0 | 95.0 | 12.5 | 5.0 | 0.5 |
|
|
|
|
|
| Specifications and dimensions | ||||||||||
| Cylinder diameter | Bottom diameter | Base Diameter | Width | Guide Min |
|
Cylinder diameter | Bottom diameter | Base Diameter | Width | Guide Min |
| DH9 | d h9 | d 1 | L | Z | DH9 | d h9 | d 1 | L | Z | |
| 100 | 80 | 99 | 21.2 | 6 | 150 | 120 | 148.5 | 29 | 7.5 | |
| 110 | 90 | 109 | 21.2 | 6 | 160 | 130 | 158.5 | 29 | 7.5 | |
| 120 | 95 | 119 | 25.3 | 7.5 | 180 | 150 | 178.5 | 31.5 | 7.5 | |
| 140 | 115 | 139 | 25.8 | 7.5 | 200 | 170 | 198.5 | 33.5 | 7.5 | |
| Ordering example AQ0800 80×64.5×6.3 (D×d×L) PTFE3-R01 PTFE3 R01-Material code | ||||||||||||||||
| Product Number | D | d | L+0.2 | RMax |
|
Product Number | D | d | L+0.2 | RMax |
|
Product Number | D | d | L+0.2 | RMax |
| AQ0160 | 16 | 5 | 4.2 | 0.8 | AQ0800L | 80 | 64.5 | 6.3 | 1.2 | AQ1500 | 150 | 129 | 8.1 | 1.6 | ||
| AQ0180 | 18 | 7 | 42 | 0.8 | AQ0800 | 80 | 59 | 8.1 | 1.6 | AQ1600 | 160 | 139 | 8.1 | 1.6 | ||
| AQ0200 | 20 | 9 | 4.2 | 0.8 | AQ0850L | 85 | 69.5 | 6.3 | 1.2 | AQ1700 | 170 | 149 | 8.1 | 1.6 | ||
| AQ0220 | 22 | 11 | 4.2 | 0.8 | AQ0850 | 85 | 64 | 8.1 | 1.6 | AQ1800 | 180 | 159 | 8.1 | 1.6 | ||
| AQ0250 | 25 | 14 | 4.2 | 0.8 | AQ0900L | 90 | 74.5 | 6.3 | 1.2 | AQ1900 | 190 | 169 | 8.1 | 1.6 | ||
| AQ0280 | 28 | 17 | 4.2 | 0.8 | AQ0900 | 90 | 69 | 8.1 | 1.6 | AQ2000 | 200 | 179 | 8.1 | 1.6 | ||
| AQ0300 | 30 | 19 | 4.2 | 0.8 | AQ0950L | 95 | 79.5 | 6.3 | 1.2 | AQ2100 | 210 | 189 | 8.1 | 1.6 | ||
| AQ0320 | 32 | 21 | 4.2 | 0.8 | AQ0950 | 95 | 74 | 8.1 | 1.6 | AQ2200 | 220 | 199 | 8.1 | 1.6 | ||
| AQ0350 | 35 | 24 | 4.2 | 0.8 | AQ1000L | 100 | 84.5 | 6.3 | 1.2 | AQ2300 | 230 | 209 | 8.1 | 1.6 | ||
| AQ0400 | 40 | 29 | 4.2 | 0.8 | AQ1000 | 100 | 79 | 8.1 | 1.6 | AQ2400 | 240 | 219 | 8.1 | 1.6 | ||
| Ordering example AQF0800 80×67×8.3 (D×d×L) PTFE3-R01 Material code | ||||||||||||||||
| Product Number |
D H9 |
d h9 |
L+0.2 | RMax |
|
Product Number |
D H9 |
d h9 |
L+0.2 | RMax |
|
Product Number |
D H9 |
d h9 |
L+0.2 | RMax |
| AQF0400 | 40 | 30 | 6.3 | 1.2 | AQF01150 | 115 | 102 | 8.3 | 1.6 | AQF3200 | 320 | 302 | 12.3 | 3 | ||
| AQF0420 | 42 | 32 | 6.3 | 1.2 | AQF01200 | 120 | 107 | 8.3 | 1.6 | AQF3500 | 350 | 332 | 12.3 | 3 | ||
| AQF0450 | 45 | 35 | 6.3 | 1.2 | AQF01250 | 125 | 112 | 8.3 | 1.6 | AQF4000 | 400 | 382 | 12.3 | 3 | ||
| AQF0480 | 48 | 38 | 6.3 | 1.2 | AQF01300 | 130 | 117 | 8.3 | 1.6 | AQF4200 | 420 | 402 | 12.3 | 3 | ||
| AQF0500 | 50 | 40 | 6.3 | 1.2 | AQF1350 | 135 | 117 | 12.3 | 3 | AQF4500 | 450 | 432 | 12.3 | 3 | ||
| AQF0520 | 52 | 42 | 6.3 | 1.2 | AQF1400 | 140 | 122 | 12.3 | 3 | AQF4800 | 480 | 449 | 16.3 | 3 | ||
| AQF0550 | 55 | 45 | 6.3 | 1.2 | AQF1500 | 150 | 132 | 12.3 | 3 | AQF5000 | 500 | 469 | 16.3 | 3 | ||
| AQF0600 | 60 | 50 | 6.3 | 1.2 | AQF1600 | 160 | 142 | 12.3 | 3 | AQF6000 | 600 | 569 | 16.3 | 3 | ||
| AQF0630 | 63 | 53 | 6.3 | 1.2 | AQF1700 | 170 | 152 | 12.3 | 3 | AQF7000 | 700 | 669 | 16.3 | 3 | ||
| D | d | L | D1 |
|
D | d | L | D1 |
|
D | d | L | D1 |
| 20 | 12.5 | 3.2 | 19.7 | 63 | 50 | 6.3 | 62.6 | 100 | 79 | 8.1 | 99.5 | ||
| 25 | 17.5 | 3.2 | 24.7 | 65 | 52 | 6.3 | 64.6 | 105 | 84.5 | 6.3 | 104.6 | ||
| 25 | 14 | 4.2 | 24.7 | 70 | 59 | 4.2 | 69.7 | 105 | 89.5 | 6.3 | 104.6 | ||
| 32 | 24.5 | 3.2 | 31.7 | 70 | 54.5 | 6.3 | 69.6 | 110 | 89 | 8.1 | 109.5 | ||
| 32 | 21 | 4.2 | 31.7 | 70 | 57 | 6.3 | 69.6 | 115 | 94 | 8.1 | 114.5 | ||
| 40 | 32.5 | 3.2 | 39.7 | 75 | 59.5 | 6.3 | 74.6 | 120 | 99 | 8.1 | 119.5 | ||
| 40 | 29 | 4.2 | 39.7 | 75 | 62 | 6.3 | 74.6 | 125 | 109.5 | 6.3 | 124.6 | ||
| 45 | 34 | 4.2 | 44.7 | 80 | 69 | 4.2 | 79.7 | 125 | 104 | 8.1 | 124.5 | ||
| 45 | 32 | 6.3 | 44.6 | 80 | 64.5 | 6.3 | 79.6 | 140 | 119 | 8.1 | 139.5 | ||
| 50 | 39 | 4.2 | 49.7 | 85 | 71.5 | 6.3 | 84.6 | 160 | 139 | 8.1 | 159.5 | ||
| 50 | 34.5 | 6.3 | 49.6 | 90 | 74.5 | 6.3 | 89.6 | 200 | 179 | 8.1 | 199.5 |
|
Aperture range D H9 |
Groove diameter d h9 |
Groove width L+0.2 |
Radial clearance Smax |
Rounded Corners Rmax |
Chamfer Z |
O-ring wire diameter | |||
|
Standard type RPW |
Light load RPW-Q |
Heavy load RPW-Z |
0~20Mpa | 20-40Mpa | |||||
| 8~14.9 | 15~39.9 | - | D-4.9 | 2.2 | 0.20 | 0.15 | 0.4 | 2 | 1.80 |
| 15~39.9 | 40~79.9 | - | D-7.5 | 3.2 | 0.25 | 0.15 | 0.6 | 3 | 2.65 |
| 40~79.9 | 80~132.9 | 15~39.9 | D-11.0 | 4.2 | 0.25 | 0.20 | 1.0 | 4 | 3.55 |
| 80~132.9 | 133~329.9 | 40~79.9 | D-15.5 | 6.3 | 0.30 | 0.20 | 1.3 | 5 | 5.30 |
| 133~329.9 | 330~669.9 | 80~132.9 | D-21.0 | 8.1 | 0.35 | 0.25 | 1.8 | 7 | 7.00 |
| 330-669.9 | 670~999.9 | 133~329.9 | D-24.5 | 8.1 | 0.35 | 0.25 | 1.8 | 7 | 7.00 |
| 670~999.9 | - | 330~669.9 | D-28.0 | 9.5 | 0.5 | 0.30 | 2.5 | 8 | 8.60 |
| >1000 | D-38 | 13.8 | 0.7 | 0.60 | 3 | 10 | 12.0 | ||
| Note: 1. For hole diameter ≤ 30mm, it is recommended to use open groove. | |||||||||
| 2. For pressure > 40MPA, the root area of the seal uses H8/f8 fit tolerance. | |||||||||
|
|
|||||||||||||
| Order Number | DH8 | dh9 | L+0.2 |
|
Order Number | DH8 | dh9 | L+0.2 |
|
Order Number | DH8 | dh9 | L+0.2 |
| TDA0400 | 40 | 32 | 7.5 | TDA1150 | 115 | 100 | 13 | TDA2800 | 280 | 260 | 17 | ||
| TDA0450 | 45 | 37 | 7.5 | TDA1200 | 120 | 105 | 13 | TDA3000 | 300 | 280 | 17 | ||
| TDA0500 | 50 | 42 | 7.5 | TDA1250 | 125 | 110 | 13 | TDA3200 | 320 | 300 | 17 | ||
| TDA0550 | 55 | 45 | 7.5 | TDA1300 | 130 | 115 | 13 | TDA3500 | 350 | 320 | 21 | ||
| TDA0600 | 60 | 45 | 13 | TDA1400 | 140 | 120 | 13 | TDA3700 | 370 | 345 | 17 | ||
| TDA0630 | 63 | 53 | 8.5 | TDA1450 | 145 | 125 | 13 | TDA3800 | 380 | 350 | 21 | ||
| TDA0630A | 63 | 48 | 13 | TDA1500 | 150 | 130 | 13 | TDA3900 | 390 | 360 | 21 | ||
| TDA0650 | 65 | 50 | 8.5 | TDA1600 | 160 | 140 | 13 | TDA4100 | 410 | 380 | 21 | ||
| TDA0650A | 65 | 50 | 13 | TDA1600A | 160 | 140 | 17 | TDA4300 | 430 | 400 | 21 | ||
| TDA0700 | 70 | 55 | 13 | TDA1700 | 170 | 150 | 17 | TDA4500 | 450 | 420 | 21 | ||
| TDA0750 | 75 | 60 | 13 | TDA1800 | 180 | 160 | 17 | TDA4800 | 480 | 450 | 21 | ||
| TDA0800 | 80 | 65 | 13 | TDA1900 | 190 | 170 | 17 | TDA5000 | 500 | 475 | 17 | ||
| TDA0850 | 85 | 70 | 13 | TDA2000 | 200 | 180 | 17 | TDA5100 | 510 | 480 | 21 | ||
| TDA0900 | 90 | 75 | 13 | TDA2100 | 210 | 190 | 17 | TDA5900 | 590 | 560 | 21 | ||
| TDA0950 | 95 | 80 | 13 | TDA2200 | 220 | 200 | 17 | TDA6000 | 600 | 570 | 21 | ||
| TDA1000 | 100 | 85 | 13 | TDA2250 | 225 | 205 | 17 | TDA6700 | 670 | 640 | 21 | ||
| TDA1100 | 110 | 95 | 13 | TDA2500 | 250 | 230 | 17 |
|
|
|
|
||
| Note: If the required specifications are not in this table, please contact us. | |||||||||||||
| Installation Dimensions |
|
|
|
|
|
|
|
|
|
|
|
Chamfer length | |||||
| Cylinder diameterDH8 | Groove bottom diameterdh9 | Slot width L+0.2 | Seal height H |
|
|
Cylinder diameter range | Chamfer length e≥ | ||||||||||
| 40-120 | D-10 | 16 | 15 |
|
|
40-124 | 7 | ||||||||||
| 121-300 | D-12 | 16 | 15 |
|
|
125-299 | 10 | ||||||||||
| 301-380 | D-14 | 16 | 15 |
|
|
300-630 | 15 | ||||||||||
| >380 | D-16 | 16 | 15 |
|
|
||||||||||||
|
|
|
|
|
|
|
|
|
||||||||||
| Order Number | DH8 | dh9 | L+0.2 |
|
Order Number | DH8 | dh9 | L+0.2 |
|
Order Number | DH8 | dh9 | L+0.2 | ||||
| TDMA0400 | 40 | 30 | 16 | TDMA1150 | 115 | 105 | 16 | TDMA2500 | 250 | 238 | 16 | ||||||
| TDMA0450 | 45 | 35 | 16 | TDMA1200 | 120 | 110 | 16 | TDMA2800 | 280 | 268 | 16 | ||||||
| TDMA0500 | 50 | 40 | 16 | TDMA1250 | 125 | 113 | 16 | TDMA3000 | 300 | 288 | 16 | ||||||
| TDMA0550 | 55 | 45 | 16 | TDMA1300 | 130 | 118 | 16 | TDMA3200 | 320 | 306 | 16 | ||||||
| TDMA0560 | 56 | 46 | 16 | TDMA1350 | 135 | 123 | 16 | TDMA3500 | 350 | 336 | 16 | ||||||
| TDMA0600 | 60 | 50 | 16 | TDMA1400 | 140 | 128 | 16 | TDMA3800 | 380 | 366 | 16 | ||||||
| TDMA0630 | 63 | 53 | 16 | TDMA1500 | 150 | 138 | 16 | TDMA4000 | 400 | 384 | 16 | ||||||
| TDMA0650 | 65 | 55 | 16 | TDMA1600 | 160 | 148 | 16 | TDMA4200 | 420 | 404 | 16 | ||||||
| TDMA0700 | 70 | 60 | 16 | TDMA1700 | 170 | 158 | 16 | TDMA4500 | 450 | 434 | 16 | ||||||
| TDMA0750 | 75 | 65 | 16 | TDMA1800 | 180 | 168 | 16 | TDMA4800 | 480 | 464 | 16 | ||||||
| TDMA0800 | 80 | 70 | 16 | TDMA1900 | 190 | 178 | 16 | TDMA5000 | 500 | 484 | 16 | ||||||
| TDMA0850 | 85 | 75 | 16 | TDMA2000 | 200 | 188 | 16 | TDMA5600 | 560 | 544 | 16 | ||||||
| TDMA0900 | 90 | 80 | 16 | TDMA2100 | 210 | 198 | 16 | TDMA6000 | 600 | 584 | 16 | ||||||
| TDMA1000 | 100 | 90 | 16 | TDMA2200 | 220 | 208 | 16 | TDMA6300 | 630 | 614 | 16 | ||||||
| TDMA1100 | 110 | 100 | 16 | TDMA2250 | 225 | 213 | 16 |
|
|
|
|
||||||
| Note: The required specifications are not in this table, but can also be produced. Please contact us. | |||||||||||||||||
| Installation Dimensions |
|
|
|
|
|
|
Chamfer length | |||||||
|
|
|
|
|
Cylinder diameter range | Chamfer length e≥ | |||||||||
|
|
|
|
|
|
<99 | 7 | ||||||||
| Cylinder diameter DH8 | Groove bottom diameter dh9 | Slot width L+0.2 | Seal height H |
|
100-199 | 10 | ||||||||
| <96 | D-16.8 | 8 | 7.5 |
|
||||||||||
| 96-190 | D-20 | 10 | 9.5 |
|
200-309 | 12 | ||||||||
| 191-380 | D-28 | 13 | 12.5 |
|
310-559 | 15 | ||||||||
| >380 | D-36 | 20 | 19.5 |
|
>599 | 18 | ||||||||
|
|
|
|
|
|
|
|
||||||||
| Order Number | D H8 | d h9 | L+0.2 |
|
Order Number | D H8 | d h9 | L+0.2 |
|
Order Number | D H8 | d h9 | L+0.2 | |
| GGDA0400 | 40 | 23.2 | 8 | GGDA1050 | 105 | 85 | 10 | GGDA2500 | 250 | 222 | 13 | |||
| GGDA0450 | 45 | 28.2 | 8 | GGDA1100 | 110 | 90 | 10 | GGDA2800 | 280 | 252 | 13 | |||
| GGDA0500 | 50 | 33.2 | 8 | GGDA1150 | 115 | 95 | 10 | GGDA3000 | 300 | 272 | 13 | |||
| GGDA0550 | 55 | 38.2 | 8 | GGDA1200 | 120 | 100 | 10 | GGDA3200 | 320 | 292 | 13 | |||
| GGDA0560 | 56 | 39.2 | 8 | GGDA1250 | 125 | 105 | 10 | GGDA3500 | 350 | 322 | 13 | |||
| GGDA0600 | 60 | 43.2 | 8 | GGDA1300 | 130 | 110 | 10 | GGDA3800 | 380 | 352 | 13 | |||
| GGDA0630 | 63 | 46.2 | 8 | GGDA1350 | 135 | 115 | 10 | GGDA4000 | 400 | 364 | 20 | |||
| GGDA0650 | 65 | 48.2 | 8 | GGDA1400 | 140 | 120 | 10 | GGDA4200 | 420 | 384 | 20 | |||
| GGDA0700 | 70 | 53.2 | 8 | GGDA1500 | 150 | 130 | 10 | GGDA4500 | 450 | 414 | 20 | |||
| GGDA0750 | 75 | 58.2 | 8 | GGDA1600 | 160 | 140 | 10 | GGDA4800 | 480 | 444 | 20 | |||
| GGDA0800 | 80 | 63.2 | 8 | GGDA1700 | 170 | 150 | 10 | GGDA5000 | 500 | 464 | 20 | |||
| GGDA0850 | 85 | 68.2 | 8 | GGDA1800 | 180 | 160 | 10 | GGDA5600 | 560 | 524 | 20 | |||
| GGDA0900 | 90 | 73.2 | 8 | GGDA1900 | 190 | 170 | 10 | GGDA6000 | 600 | 564 | 20 | |||
| GGDA0950 | 95 | 78.2 | 8 | GGDA2000 | 200 | 172 | 13 | GGDA6300 | 630 | 594 | 20 | |||
| GGDA1000 | 100 | 80 | 10 | GGDA2200 | 220 | 192 | 13 |
|
|
|
|
|||
| Note: The required specifications are not in this table, but can also be produced. Please contact us. The maximum product available is 1600mm. | ||||||||||||||
| Extrusion gap |
|
|
|
|
|
|
|
|
|
|
|
||
| Pressure Mpa | Extrusion gap Smax |
|
|
|
|||||||||
| Cylinder diameter D≤60mm | Cylinder diameter D>60mm |
|
|
|
|||||||||
| ≤5 | 0.4 | 0.5 |
|
|
|
||||||||
| ≤10 | 0.3 | 0.5 |
|
|
|
||||||||
| ≤20 | 0.2 | 0.3 |
|
|
|
||||||||
| ≤30 | 0.15 | 0.2 |
|
|
|
||||||||
| ≤40 | 0.1 | 0.15 |
|
|
|
||||||||
| Size Chart | |||||||||||||
| Product Number | D | d | H | L | d1 |
|
Product Number | D | d | H | L | d1 | |
| RCUP30*15*9.5 | 30 | 15 | 9.5 | 10.5 | 18 | RCUP40*32*5.5 | 40 | 32 | 5.5 | 6.5 | 35 | ||
| RCUP30*15*10 | 30 | 15 | 10 | 11 | 19 | RCUP40*32*8 | 40 | 32 | 8 | 9 | 35 | ||
| RCUP30*20*8 | 30 | 20 | 8 | 9 | 24 | RCUP40*33*8 | 40 | 33 | 8 | 9 | 36 | ||
| RCUP30*22*6.5 | 30 | 22 | 6.5 | 7 | 25 | RCUP45*30*10 | 45 | 30 | 10 | 11 | 35 | ||
| RCUP35*20*10 | 35 | 20 | 10 | 11 | 25 | RCUP50*30*12 | 50 | 30 | 12 | 13 | 35 | ||
| RCUP35*25*8 | 35 | 25 | 8 | 9 | 29 | RCUP50*32*10 | 50 | 32 | 10 | 11 | 35 | ||
| RCUP35*27*10 | 35 | 27 | 10 | 11 | 30 | RCUP50*35*8.5 | 50 | 35 | 8.5 | 9.5 | 40 | ||
| RCUP40*25*10 | 40 | 25 | 10 | 11 | 30 | RCUP50*35*10 | 50 | 35 | 10 | 11 | 40 | ||
| RCUP40*30*6.5 | 40 | 30 | 6.5 | 7.5 | 34 | RCUP50*40*5 | 50 | 40 | 5 | 5.5 | 44 | ||
| RCUP40*30*10 | 40 | 30 | 10 | 11 | 34 | RCUP50*40*8 | 50 | 40 | 8 | 9 | 43 | ||
| Product Number | D | d | H | L1 | L2 | T |
|
Product Number | D | d | H | L1 | L2 | T |
| YXD11*5*8 | 11 | 5 | 8 | 9 | 10.5 | 1.5 | YXD55*47*10 | 55 | 47 | 10 | 12 | 13.5 | 1.5 | |
| YXD12*6*8 | 12 | 6 | 8 | 9 | 10.5 | 1.5 | YXD56*48*10 | 56 | 48 | 10 | 12 | 13.5 | 1.5 | |
| YXD14*8*8 | 14 | 8 | 8 | 9 | 10.5 | 1.5 | YXD60*48*14 | 60 | 48 | 14 | 16 | 18 | 2 | |
| YXD16*10*8 | 16 | 10 | 8 | 9 | 10.5 | 1.5 | YXD63*51*14 | 63 | 51 | 14 | 16 | 18 | 2 | |
| YXD18*12*8 | 18 | 12 | 8 | 9 | 10.5 | 1.5 | YXD65*53*14 | 65 | 53 | 14 | 16 | 18 | 2 | |
| YXD20*14*8 | 20 | 14 | 8 | 9 | 10.5 | 1.5 | YXD70*58*14 | 70 | 58 | 14 | 16 | 18 | 2 | |
| YXD22*16*8 | 22 | 16 | 8 | 9 | 10.5 | 1.5 | YXD75*63*14 | 75 | 63 | 14 | 16 | 18 | 2 | |
| YXD24*18*8 | 24 | 18 | 8 | 9 | 10.5 | 1.5 | YXD78*66*14 | 78 | 66 | 14 | 16 | 18 | 2 | |
| YXD25*19*8 | 25 | 19 | 8 | 9 | 10.5 | 1.5 | YXD80*68*14 | 80 | 68 | 14 | 16 | 18 | 2 | |
| YXD28*22*8 | 28 | 22 | 8 | 9 | 10.5 | 1.5 | YXD85*73*14 | 85 | 73 | 14 | 16 | 18 | 2 | |
| YXD30*22*10 | 30 | 22 | 10 | 12 | 13.5 | 1.5 | YXD90*78*14 | 90 | 78 | 14 | 16 | 18 | 2 | |
| YXD32*24*10 | 32 | 24 | 10 | 12 | 13.5 | 1.5 | YXD95*83*14 | 95 | 83 | 14 | 16 | 18 | 2 | |
| YXD35*27*10 | 35 | 27 | 10 | 12 | 13.5 | 1.5 | YXD100*88*14 | 100 | 88 | 14 | 16 | 18 | 2 |



























































































































Address
No.1 Ruichen Road, Dongliuting Industrial Park, Chengyang District, Qingdao City, Shandong Province, China
Tel