Qingdao Ruichen Sealing Technology Co., Ltd.
Qingdao Ruichen Sealing Technology Co., Ltd.
Products
X
IMG
VIDEO

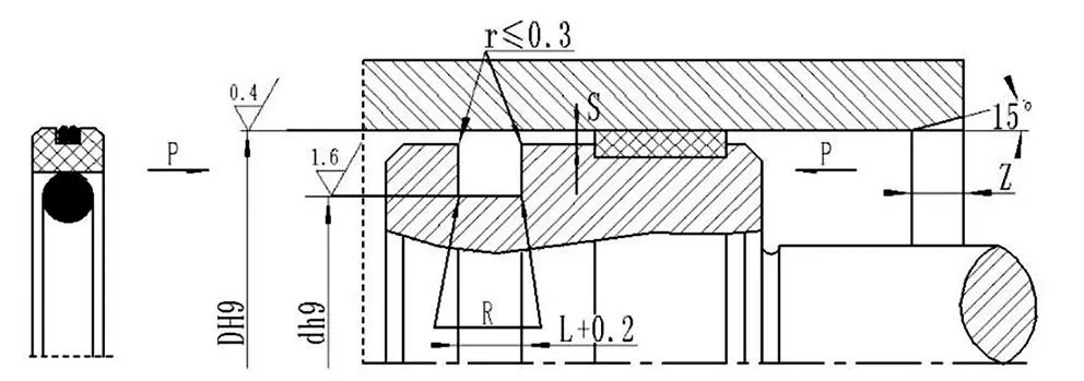
AQ Type PTFE Compound Seal

If you're interested in purchasing Ruichen Seal's AQ Type PTFE Compound Seal, we offer highly flexible material customization options: elastomers can be selected from a variety of rubbers, including NBR and FKM. In addition to standard PTFE3, sealing rings also support a variety of engineering materials, including PTFE1/PTFE2/PTFE4.

AQ Type PTFE Compound Seal is widely adaptable to different media, temperatures and working conditions, significantly improving the compatibility and service life of the sealing system.


Applicable working conditions

Pressure Mpa

Temperature ℃

Speed m/s

Medium

≤40

-35~+100 (NBR)

≤2

Hydraulic oil, emulsion, water, gas, etc.

-20~+200 (FKM)


Material Selection

1. Available elastomer materials: R01 nitrile rubber (NBR), RO2 fluororubber (FKM), etc.

2. Sealing Ring Material: Standard material: PTFE3; other available materials: PTFE1, PTFE2, and PTFE4.

Ordering Example AQ080080 x64.5x6.3(DxdxL)PTFE3-RO1 PTFE3 RO1-Material Code



Hot Tags: AQ Type PTFE Compound Seal
Send Inquiry
Contact Info
Get competitive prices, technical support, and fast responses. Send your specifications to Ruichen for tailored sealing solutions. Free samples available.
X
We use cookies to offer you a better browsing experience, analyze site traffic and personalize content. By using this site, you agree to our use of cookies. Privacy Policy
Reject Accept